
مستقل مقناطیس ہم وقت ساز موٹر مقناطیس
مستقل مقناطیس موٹر موٹر کی ایک قسم ہے جو موٹر میں دلچسپ سمیٹنے کے بجائے مستقل مقناطیس کے مقناطیسی میدان کا استعمال کرتی ہے۔
مستقل مقناطیس موٹر کا کچھ تعارف
مستقل مقناطیس موٹر کیا ہے؟
مستقل مقناطیس موٹر موٹر کی ایک قسم ہے جو موٹر میں دلچسپ سمیٹنے کے بجائے مستقل مقناطیس کے مقناطیسی میدان کا استعمال کرتی ہے۔
مستقل مقناطیس موٹر کی درجہ بندی
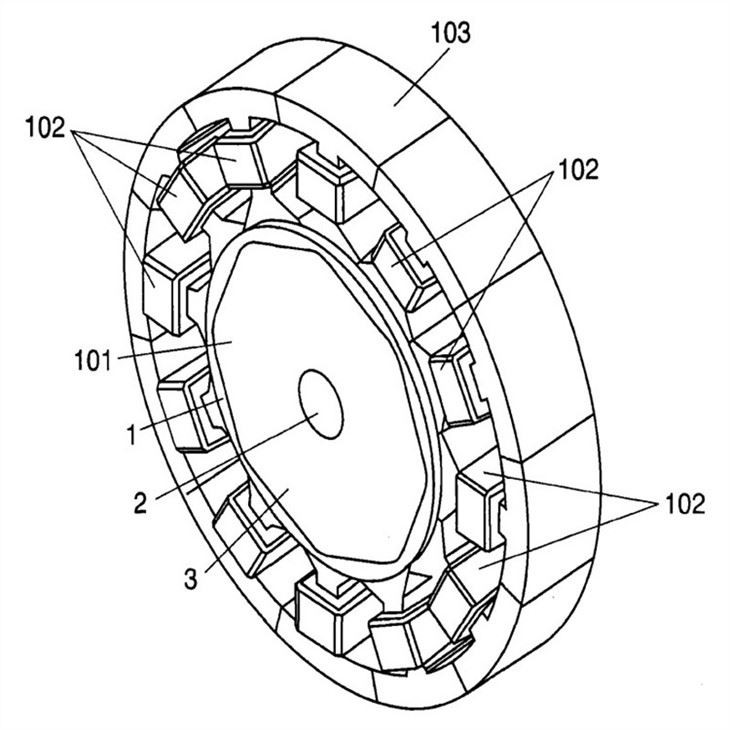
مستقل مقناطیس موٹر کو مکینیکل اور برقی توانائی کے درمیان توانائی کی تبدیلی کی شکلوں کی بنیاد پر مستقل مقناطیس جنریٹر اور مستقل مقناطیس الیکٹرک موٹر میں درجہ بندی کیا جاسکتا ہے۔ مستقل مقناطیس کو مستقل مقناطیس AC موٹر اور موجودہ شکل پر منحصر مستقل مقناطیس DC موٹر میں بھی درجہ بندی کیا جاسکتا ہے۔ نایاب زمین کی مستقل مقناطیس موٹر کے لیے، مائیکرو اور چھوٹی موٹر بنیادی طور پر ڈی سی کی شکل میں ہوتی ہے، اور سینکڑوں واٹ پاور والی موٹریں عام طور پر AC کی شکل میں ہوتی ہیں۔
مستقل مقناطیس ڈی سی موٹر مستقل مقناطیس برش ڈی سی موٹر میں گر جاتی ہے اور مستقل مقناطیس برش کم ڈی سی موٹر کے مطابق برش ہے یا نہیں۔ مستقل مقناطیس AC موٹر کو مرحلے کے مطابق مستقل مقناطیس AC غیر مطابقت پذیر موٹر اور مستقل مقناطیس AC ہم وقت ساز موٹر میں الگ کیا جاسکتا ہے۔
مستقل مقناطیس کی فیلڈ ایکسائٹیشن کے ذریعے، بجلی کی کھپت اور موٹر کی آپریشنل کارکردگی دونوں کو بہتر بنایا جا سکتا ہے۔ فی الحال، مختلف قسم کی موٹروں کی تیاری میں دو تہائی سے زیادہ نادر زمین کے مستقل میگنےٹ استعمال کیے جاتے ہیں۔

مستقل مقناطیس اے سی موٹر
1۔مستقل میگنیٹ سنکرونس جنریٹر: سنگل فیز AC پاور سپلائی، تھری فیز AC پاور سپلائی، معاون ایکسائٹر اور ہوا سے چلنے والا-جنریٹر۔
2. مستقل مقناطیس AC رفتار کی پیمائش کرنے والی موٹر: پرواز، نیویگیشن، لوکوموٹیو اور لیتھ کی رفتار کی پیمائش۔
3. مستقل مقناطیس انڈکشن جنریٹر: سنگل فیز میڈیم فریکوئنسی پاور سپلائی۔
4. اگنیشن میگنیٹو: لوکوموٹیو، ٹرین اور ہوائی جہاز کے اندرونی دہن کے انجن کا اگنیشن سسٹم۔
5. مستقل مقناطیس ہم وقت ساز موٹر: پمپنگ یونٹ، اڑانے والی مشین، واٹر پمپ اور ٹیکسٹائل مشین۔

مستقل مقناطیس ڈی سی موٹر
1۔مستقل میگنیٹ ڈی سی موٹر:کیمرہ میں مائیکرو-موٹر، گھریلو آلات، الیکٹرانک صنعت، آلات سازی اور برقی کھلونا۔
2. مستقل مقناطیس ڈی سی سروو موٹر: آٹومیشن اور ریموٹ کنٹرول سسٹم۔
3. مستقل مقناطیس ڈی سی رفتار کی پیمائش کرنے والی موٹر: مختلف گھومنے والے حصوں کے انقلاب کی پیمائش۔
4. مستقل مقناطیس ڈی سی ٹارک موٹر: لفٹ اور ہوا بازی۔
5. دیگر موٹرز: بشمول سٹیپر موٹر، ڈی سی برش لیس موٹر، پیزو الیکٹرک موٹر، ہال موٹر اور وائس کوائل موٹر، اور صنعتی آٹومیشن، آفس آٹومیشن، ریموٹ کنٹرول سسٹم اور کمپیوٹر پیری فیرلز میں بڑے پیمانے پر استعمال ہوتے ہیں۔

انکوائری بھیجنے









